特斯拉申请线控转向系统专利 使方向盘旋转范围“翻倍”
盖世汽车讯 据外媒报道,特斯拉(Tesla)最近公布了一项新专利,这项专利可能会改变未来线控转向汽车的操控感受。该专利名为“多圈转向反馈执行器(Multi-turn Steering Feedback Actuator)”,于2026年3月19日正式公布。
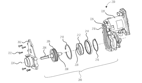
该专利由Stephen Alexander Harasym和Joel Timothy Van Rooyen发明,概述了一种专为线控转向系统设计的全新的转向柱总成。它允许方向盘进行更大范围的旋转,同时保持稳固的机械限位。
图片来源:USPTO
当前线控转向系统的问题
在配备线控转向技术的现代车辆中,转向反馈执行器提供阻力,以模拟传统机械转向系统的物理感觉。这类系统需要行程限制器,以防止驾驶员过度转动方向盘,从而损坏其他内部部件。
传统的线控转向执行器使用壳体内部的机械销或限位器来限制方向盘的转动范围。这些传统设计在预设角度处提供刚性硬限位,通常限制在离中心位置正负170度左右。这个特定的限制实际上是180度,但由于内部组件的物理宽度,实际范围会略有缩小,因为组件之间会相互碰撞。
来源:第一电动网
作者:盖世汽车
本文地址:
以上内容转载自盖世汽车,目的在于传播更多信息,转载内容并不代表第一电动网(www.d1ev.com)立场。
文中图片源自互联网,如有侵权请联系admin@d1ev.com删除。
相关内容
全部评论·0
暂无评论

